今天是

申请集邮票品集中交易市场开办许可

    2017-06-21
 

  1.办理机构:省级邮政管理机构

  2.办理依据:《集邮市场管理办法》

  3.审核内容:

  

  申请集邮票品集中交易市场开办许可,应当符合《集邮市场管理办法》第十二条的规定。具体内容包括以下方面:
  (1)符合企业法人条件;

  (2)注册资本不低于人民币三十万元;

  (3)有适合集邮票品交易的固定经营场所;

  (4)具备识别邮资凭证真伪的人员和设备;

  (5)有集邮票品集中交易市场管理制度。

  集邮票品交易的固定经营场所应符合国务院邮政管理部门及公安等管理部门依法履行职责的要求。  

  4.申请材料

  

  (1)集邮票品集中交易市场开办申请书(附件1-1),已开办市场的应同时提交《市场内经营集邮票品业务的经营者名录》(附件1-2);

  (2)企业法人资格证明文件或者工商行政管理部门出具的企业名称预先核准通知书;

  (3)验资报告;

  (4)法定代表人的身份证明;

  (5)固定经营场所合法使用的证明;

  (6)集邮票品集中交易市场管理制度;

  (7)消防安全检查意见书;

  (8)法律、法规、规章规定的其他材料。

  联合申请集邮票品集中交易市场开办许可的,还应当提交联办各方共同签署的协议书。

  5.审核

  

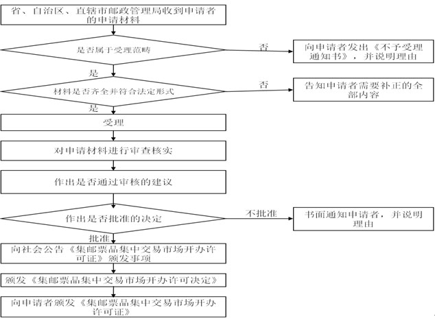
  6.办理流程

  省级邮政管理机构应当自申请受理之日起二十个工作日内对申请材料审查核实,并进行实地核查,作出批准或者不予批准的决定。二十个工作日内不能作出决定的,经本行政机关负责人批准,可以延长十个工作日,并应当将延长期限的理由告知申请人。予以批准的,颁发《集邮票品集中交易市场开办许可证》;不予批准的,书面通知申请人并说明理由。
申请集邮票品集中交易市场开办许可的,应当向当地省级邮政管理机构提交以下材料:

  (一)集邮票品集中交易市场开办许可申请流程

 
 
  (二)集邮票品集中交易市场开办许可审批流程
 
 
相关新闻
中华人民共和国国家邮政局 版权所有      备案序号:京ICP备08008301号
主办单位:中华人民共和国国家邮政局
State Post Bureau of The People's Republic of China